Intel's Panther Lake-H processor has recently resurfaced, this time making an appearance on a VNX+ SFF industrial motherboard released by ADLINK. This compact platform, designed for high-reliability scenarios such as industrial automation, defense, and aerospace, supports up to 16-core configurations and a 65W TDP. The Panther Lake-H design signifies Intel's new approach in hybrid core architectures, in comparison to its predecessors, Meteor Lake, and the forthcoming Arrow Lake.

The VNX-PL motherboard, compliant with VITA 90.x standards, is available in 16-core and 8-core configurations. The 16-core model comprises four Cougar Cove P-Cores, eight Darkmont E-Cores, and four LP-E low-power cores, while the 8-core variant maintains the four P-Cores and four LP-Es. Both configurations offer power consumption ranging from 1 to 65W, catering to versatile embedded needs. Unlike the Meteor Lake-H, which is tailored for laptops and utilizes Redwood Cove and Crestmont cores, the Arrow Lake-H is poised to feature Lion Cove and Skymont cores, targeting consumer high-performance mobile platforms. Meanwhile, the Panther Lake-H leans towards industrial and embedded markets with a focus on power efficiency and sustainable delivery cycles.
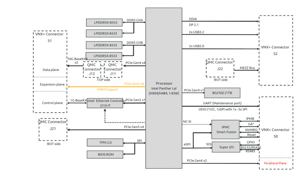
In terms of memory and storage, the platform supports dual-channel LPDDR5X-8533 memory available in either 16GB or 32GB capacities, integrated on-board without upgrade options. It also includes a 1TB PCIe SSD using a Gen4 x1 interface. The I/O setup is meticulously designed for industrial applications, featuring a 1GBase-KX control plane, optional PCIe Gen4 x4, or dual 10GBase-KX control planes. Furthermore, it supports PCIe Gen5 x8 expansion, PCIe Gen4 x2 peripheral plane, a DP 2.1 interface, and dual USB 3.2 ports. The platform also allows customization and expansion via a QMC slot.

According to the block diagram released by ADLINK, the Panther Lake-H integrates at least 12 PCIe Gen5 lanes, 7 PCIe Gen4 lanes, and a single PCIe Gen2 lane. The integration of the TPM 2.0 security module enhances the system's security and manageability. This advancement in architecture not only boosts I/O bandwidth but also provides a robust security foundation for future high-bandwidth data exchanges and secure boot in industrial applications.
Notably, Panther Lake-H is one of Intel's first processors built on the 18A process node, marking a significant milestone in Intel's hybrid architecture evolution. It merges Cougar Cove performance cores, Darkmont efficiency cores, and LP-E low-power cores into a hybrid 16-core design, complete with integrated Xe3 (Celestial) core graphics supporting up to 12 Xe cores—a 50% increase over Lunar Lake’s Xe2 cores—ensuring enhanced graphics performance.

The Panther Lake-H is anticipated to enter limited production in the fourth quarter of 2025, with motherboards expected by early 2026. This is in contrast to the consumer-ready Meteor Lake and the soon-to-be-released Arrow Lake for high-end notebooks and desktops. Panther Lake-H is engineered for long-term stability in industrial products with its hybrid core composition and flexible power management, which balance performance with energy efficiency in industrial contexts, eschewing mere peak power chase.
In summary, while Meteor Lake introduces Intel's venture into core granularity and hybrid architecture, and Arrow Lake enhances consumer-focused performance, Panther Lake-H is designed as an architectural extension tailored for industrial and embedded markets. With its full product release slated for 2026, Intel aims to spearhead a new era of compact, energy-efficient industrial computing solutions.